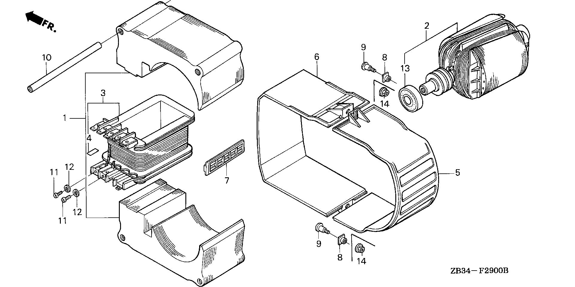
Generators EB EB2500 EB2500XK1 AG/D EZCP-1080001-9999999 ROTOR@STATOR - Delaney Honda

Ref No
Part Number
Description
Serial Range
Qty
Price

Ref No
1
Part Number
31010-ZB3-C00
Description
CORE SET, STATOR
Serial Range
1717219 - 9999999
Qty
Price
$354.30

Ref No
2
Part Number
31110-ZB3-C02
Description
ROTOR
Serial Range
1000001 - 9999999
Qty
Price
$640.54

Ref No
3
Part Number
31150-ZB3-E32
Description
BOBBIN, STATOR COIL (NOT AVAILABLE)
Serial Range
1026381 - 9999999

Ref No
4
Part Number
31154-ZA5-830
Description
MARK, WIRE COLOR
Serial Range
1026381 - 9999999
Qty
Price
$1.18

Ref No
5
Part Number
31181-ZB3-C01
Description
COVER, R. STATOR
Serial Range
1000001 - 9999999

Ref No
6
Part Number
31182-ZB3-C01
Description
COVER, L. STATOR
Serial Range
1000001 - 9999999

Ref No
9
Part Number
90018-ZA5-000
Description
BOLT, STATOR COVER SETTING
Serial Range
1000001 - 9999999
Qty
Price
$2.24

Ref No
10
Part Number
90751-ZB3-C01
Description
PIN, DOWEL (11X131)
Serial Range
1000001 - 9999999
Qty
Price
$27.26

Ref No
13
Part Number
91051-ZB3-003
Description
BEARING ASSY. (6203)
Serial Range
1986965 - 9999999
Qty
Price
$22.06

Ref No
14
Part Number
94050-05000
Description
NUT, FLANGE (5MM)
Serial Range
1000001 - 9999999
Qty
Price
$1.60