Generators EB EB5000 EB5000X A EA7-3000001-3100000 CONTROL - Delaney Honda

Ref No
Part Number
Description
Serial Range
Qty
Price

Ref No
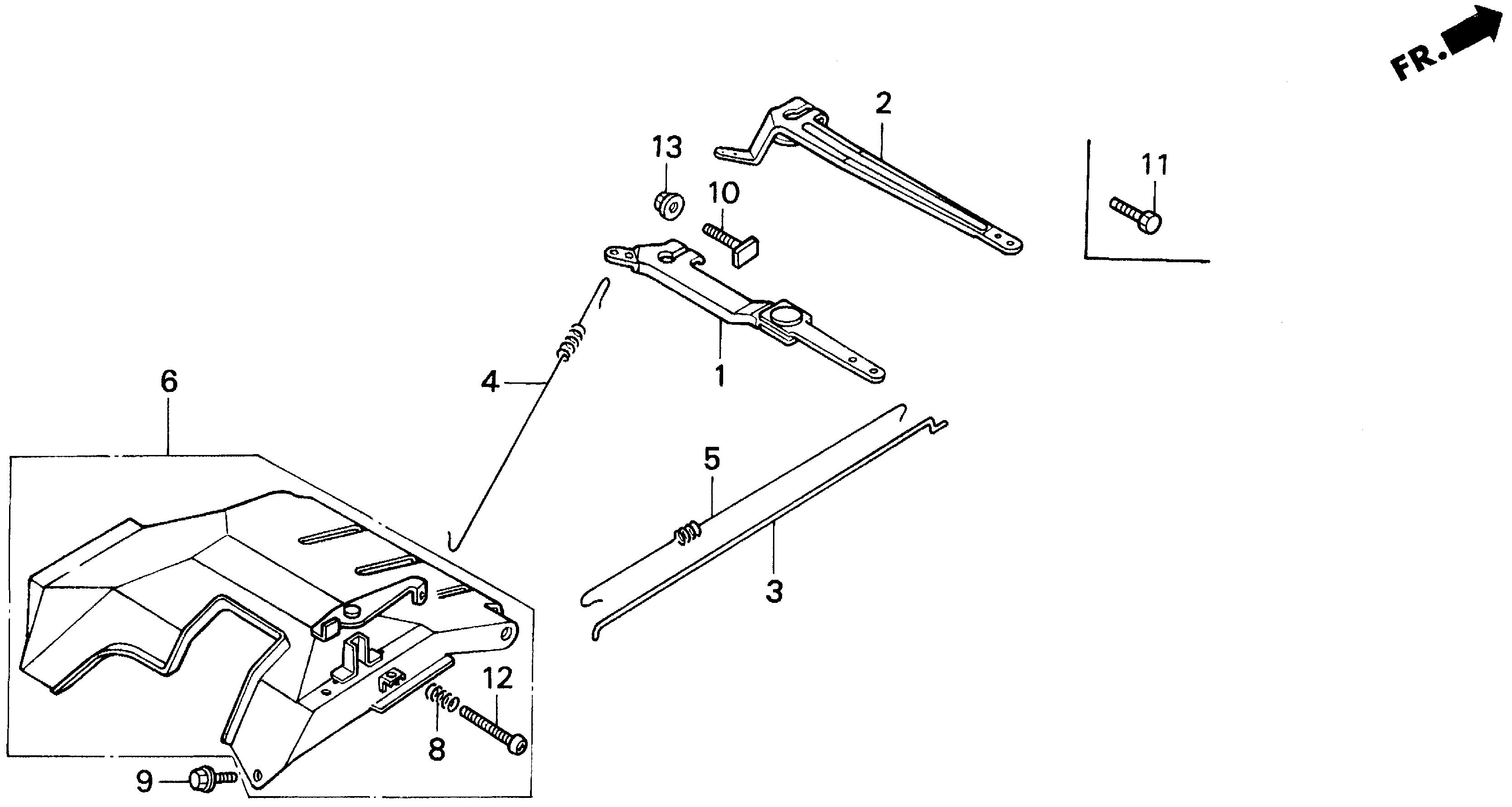
1
Part Number
16550-ZE3-700
Description
ARM, GOVERNOR
Serial Range
1166405 - 9999999
Qty
Price
$24.68

Ref No
3
Part Number
16555-ZE3-000
Description
ROD, GOVERNOR
Serial Range
1000001 - 9999999
Qty
Price
$5.14

Ref No
4
Part Number
16561-ZE3-000
Description
SPRING, GOVERNOR (L=137.5MM)
Serial Range
1000001 - 9999999
Qty
Price
$5.62

Ref No
5
Part Number
16562-ZE3-000
Description
SPRING, THROTTLE RETURN
Serial Range
1000001 - 9999999
Qty
Price
$4.86

Ref No
6
Part Number
16570-ZE3-700
Description
CONTROL ASSY.
Serial Range
1000001 - 9999999
Qty
Price
$28.22

Ref No
8
Part Number
16584-883-300
Description
SPRING, CONTROL ADJUSTING
Serial Range
1000001 - 9999999
Qty
Price
$4.86

Ref No
9
Part Number
90013-883-000
Description
BOLT, FLANGE (6X12) (CT200)
Serial Range
1000001 - 9999999

Ref No
10
Part Number
90015-ZE5-010
Description
BOLT, GOVERNOR ARM
Serial Range
1033892 - 9999999
Qty
Price
$3.06

Ref No
11
Part Number
92101-06022-0A
Description
BOLT, HEX. (6X22)
Serial Range
1000001 - 1033891
Qty
Price
$1.88

Ref No
12
Part Number
93500-05035-0A
Description
SCREW, PAN (5X35)
Serial Range
1000001 - 9999999
Qty
Price
$1.34

Ref No
13
Part Number
94050-06000
Description
NUT, FLANGE (6MM)
Serial Range
1000001 - 9999999