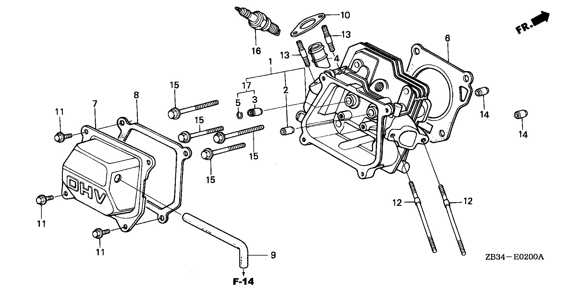
Ref No
Part Number
Description
Serial Range
Qty
Price
Ref No 1
Part Number 122A0-ZE1-000
Description CYLINDER HEAD (NOT AVAILABLE)
Serial Range 1000001 - 1206239
Ref No 1
Part Number 122A0-ZE1-010
Description CYLINDER HEAD
Serial Range 1206240 - 1369812
Ref No 1
Part Number 122A0-ZE1-020
Description CYLINDER HEAD (NOT AVAILABLE)
Serial Range 1369813 - 9999999
Ref No 2
Part Number 12204-ZE1-305
Description GUIDE, VALVE (OVER SIZE)
Serial Range 1000001 - 9999999
Ref No 3
Part Number 12205-ZE1-305
Description GUIDE, EX. VALVE (OVER SIZE)
Serial Range 1000001 - 1369812
Ref No 4
Part Number 12211-ZE1-000
Description LINER, PORT (NOT AVAILABLE)
Serial Range 1369813 - 9999999
Ref No 5
Part Number 12216-ZE5-300
Description CLIP, VALVE GUIDE
Serial Range 1369813 - 9999999
Qty
Price $1.68
Add To Cart
Ref No 6
Part Number 12251-ZE1-800
Description GASKET, CYLINDER HEAD
Serial Range 1000001 - 9999999
Qty
Price $12.02
Add To Cart
Ref No 7
Part Number 12310-ZE1-020
Description COVER, HEAD
Serial Range 1000001 - 9999999
Qty
Price $19.46
Add To Cart
Ref No 8
Part Number 12391-ZE1-000
Description GASKET, HEAD COVER
Serial Range 1000001 - 9999999
Ref No 9
Part Number 15721-732-000
Description TUBE, BREATHER (NOT AVAILABLE)
Serial Range 1000001 - 9999999
Ref No 10
Part Number 18381-ZE1-801
Description GASKET, MUFFLER
Serial Range 1000001 - 9999999
Qty
Price $4.30
Add To Cart
Ref No 11
Part Number 90013-883-000
Description BOLT, FLANGE (6X12) (CT200)
Serial Range 1000001 - 1049824
Ref No 11
Part Number 90016-ZE1-000
Description BOLT, FLANGE (6X13) (CT200)
Serial Range 1049825 - 9999999
Qty
Price $3.52
Add To Cart
Ref No 12
Part Number 90043-883-681
Description BOLT, STUD (6X89)
Serial Range 1206240 - 1472704
Qty
Price $6.78
Add To Cart
Ref No 12
Part Number 90043-ZB2-000
Description BOLT, STUD (6X89) (NOT AVAILABLE)
Serial Range 1000001 - 1206239
Ref No 12
Part Number 90043-ZB2-003
Description BOLT, STUD (6X94)
Serial Range 1472705 - 9999999
Qty
Price $6.38
Add To Cart
Ref No 13
Part Number 90047-ZE1-000
Description BOLT, STUD (8X32)
Serial Range 1206240 - 9999999
Qty
Price $4.34
Add To Cart
Ref No 14
Part Number 94301-10160
Description PIN, DOWEL (10X16)
Serial Range 1000001 - 9999999
Qty
Price $3.00
Add To Cart
Ref No 15
Part Number 95723-08060-00
Description BOLT, FLANGE (8X60)
Serial Range 1000001 - 9999999
Qty
Price $2.28
Add To Cart
Ref No 16
Part Number 98079-56846
Description SPARK PLUG (BPR6ES) (NGK)
Serial Range 1000001 - 9999999
Qty
Price $2.98
Add To Cart
Ref No 16
Part Number 98079-56855
Description SPARK PLUG (W20EPR-U) (DENSO)
Serial Range 1000001 - 9999999
Qty
Price $3.20
Add To Cart