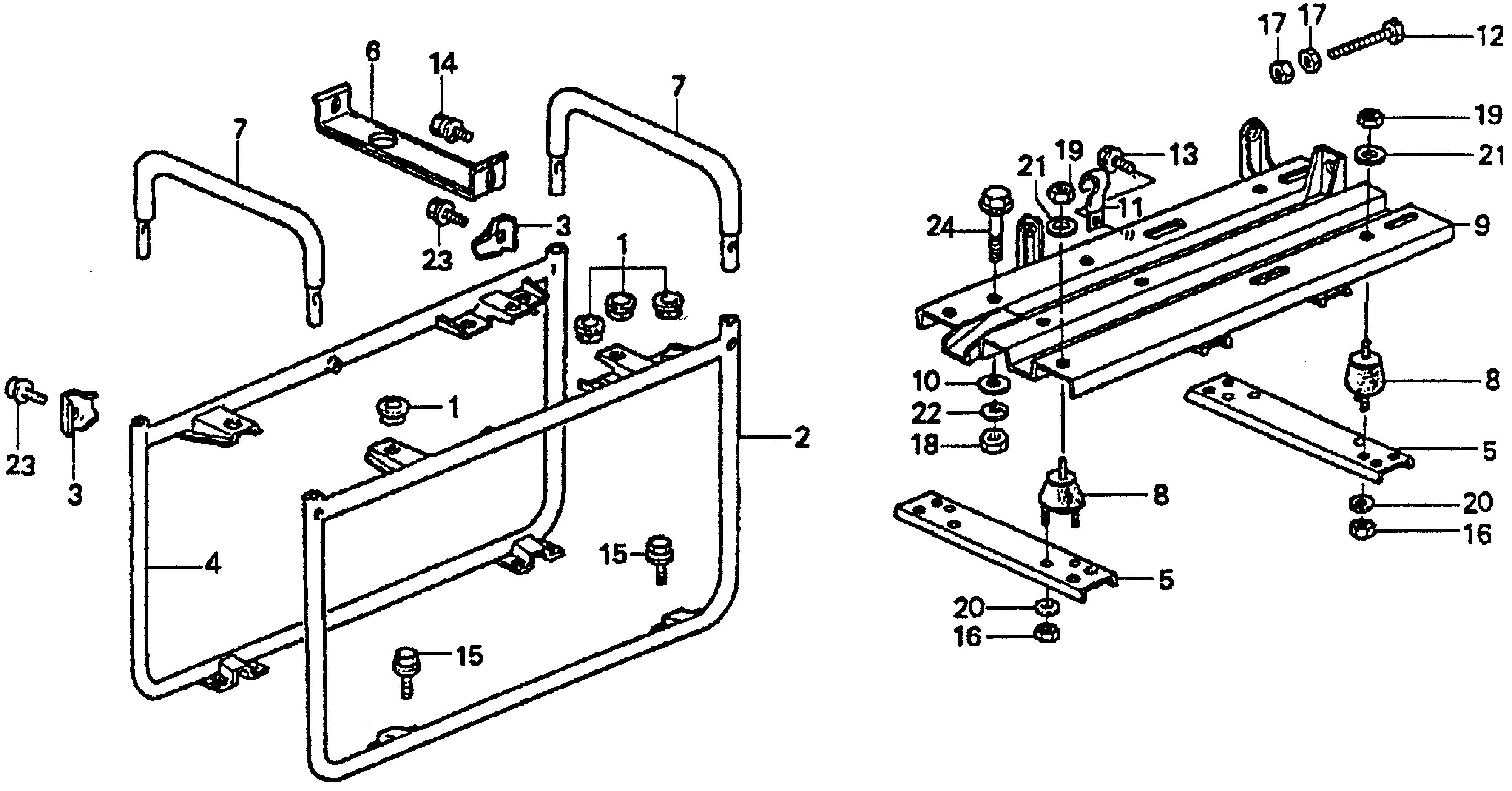
Ref No
Part Number
Description
Serial Range
Qty
Price
Ref No 1
Part Number 17682-817-020
Description RUBBER, TANK CUSHION (NOT AVAILABLE)
Serial Range 1000001 - 9999999
Qty
Price $3.42
Add To Cart
Ref No 2
Part Number 50120-880-010
Description FRAME, FR. PIPE (NOT AVAILABLE)
Serial Range 1000001 - 9999999
Ref No 3
Part Number 50121-880-000
Description PLATE, JOINT
Serial Range 1000001 - 9999999
Ref No 4
Part Number 50130-880-010
Description PIPE FRAME, RR.
Serial Range 1000001 - 9999999
Ref No 5
Part Number 50311-880-010
Description PLATE (LOWER)
Serial Range 1000001 - 9999999
Ref No 6
Part Number 50317-880-000
Description STOPPER, ENGINE (NOT AVAILABLE)
Serial Range 1000001 - 9999999
Ref No 7
Part Number 53120-880-000
Description HANDLEBAR (NOT AVAILABLE)
Serial Range 1000001 - 9999999
Ref No 8
Part Number 68310-815-020
Description RUBBER, ENGINE MOUNTING
Serial Range 1000001 - 9999999
Ref No 9
Part Number 68310-880-010
Description BED, ENGINE (NOT AVAILABLE)
Serial Range 1000001 - 9999999
Ref No 10
Part Number 90501-579-020
Description WASHER, EX. MANIFOLD
Serial Range 1000001 - 9999999
Qty
Price $6.88
Add To Cart
Ref No 11
Part Number 91403-880-010
Description CLIP, CORD
Serial Range 1000001 - 9999999
Ref No 12
Part Number 92180-08080-0A
Description BOLT, HEX. (8X80)
Serial Range 1000001 - 9999999
Qty
Price $3.20
Add To Cart
Ref No 13
Part Number 93401-06012-08
Description BOLT-WASHER (6X12)
Serial Range 1000001 - 1014356
Qty
Price $1.98
Add To Cart
Ref No 13
Part Number 93411-06012-08
Description BOLT-WASHER (6X12)
Serial Range 1000001 - 1014356
Qty
Price $1.98
Add To Cart
Ref No 13
Part Number 95701-06012-00
Description BOLT, FLANGE (6X12)
Serial Range 1014357 - 9999999
Qty
Price $1.98
Add To Cart
Ref No 14
Part Number 93402-06012-00
Description BOLT-WASHER (6X12)
Serial Range 1014357 - 9999999
Qty
Price $2.16
Add To Cart
Ref No 14
Part Number 93412-06012-00
Description BOLT-WASHER (6X12)
Serial Range 1000001 - 9999999
Ref No 15
Part Number 93401-08016-00
Description BOLT-WASHER (8X16)
Serial Range 1000001 - 9999999
Qty
Price $2.34
Add To Cart
Ref No 16
Part Number 94001-06000-0S
Description NUT, HEX. (6MM)
Serial Range 1014357 - 9999999
Ref No 16
Part Number 94001-06080-0S
Description NUT, HEX. (6MM)
Serial Range 1000001 - 1014356
Qty
Price $1.60
Add To Cart
Ref No 16
Part Number 94001-06200-0S
Description NUT, HEX. (6MM)
Serial Range 1014357 - 9999999
Qty
Price $1.60
Add To Cart
Ref No 17
Part Number 94001-08000-0S
Description NUT, HEX. (8MM)
Serial Range 1014357 - 9999999
Qty
Price $1.60
Add To Cart
Ref No 18
Part Number 94001-10000-0S
Description NUT, HEX. (10MM)
Serial Range 1014357 - 9999999
Qty
Price $1.76
Add To Cart
Ref No 19
Part Number 94002-08000-0S
Description NUT, HEX. (8MM)
Serial Range 1000001 - 9999999
Qty
Price $1.60
Add To Cart
Ref No 20
Part Number 94101-06800
Description WASHER, PLAIN (6MM)
Serial Range 1000001 - 9999999
Qty
Price $0.80
Add To Cart
Ref No 21
Part Number 94101-08000
Description WASHER, PLAIN (8MM)
Serial Range 1000001 - 9999999
Qty
Price $1.00
Add To Cart
Ref No 22
Part Number 94111-10000
Description WASHER, SPRING (10MM)
Serial Range 1000001 - 9999999
Qty
Price $1.64
Add To Cart
Ref No 23
Part Number 95701-08016-00
Description BOLT, FLANGE (8X16)
Serial Range 1000001 - 9999999
Qty
Price $2.20
Add To Cart
Ref No 24
Part Number 95801-10040-00
Description BOLT, FLANGE (10X40)
Serial Range 1000001 - 9999999
Qty
Price $2.80
Add To Cart